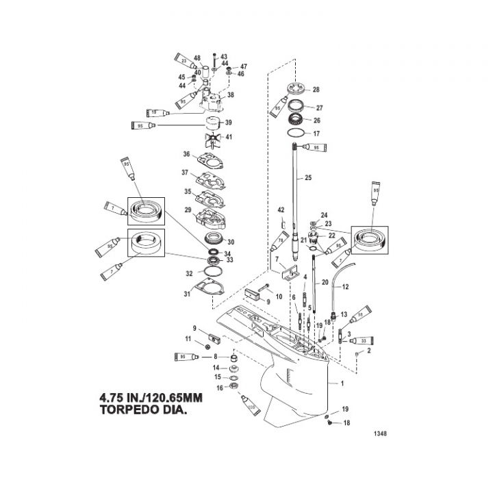
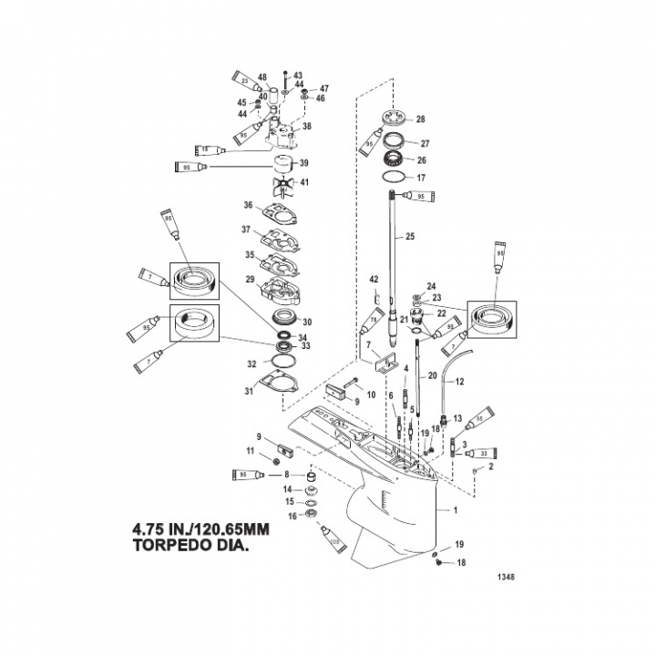
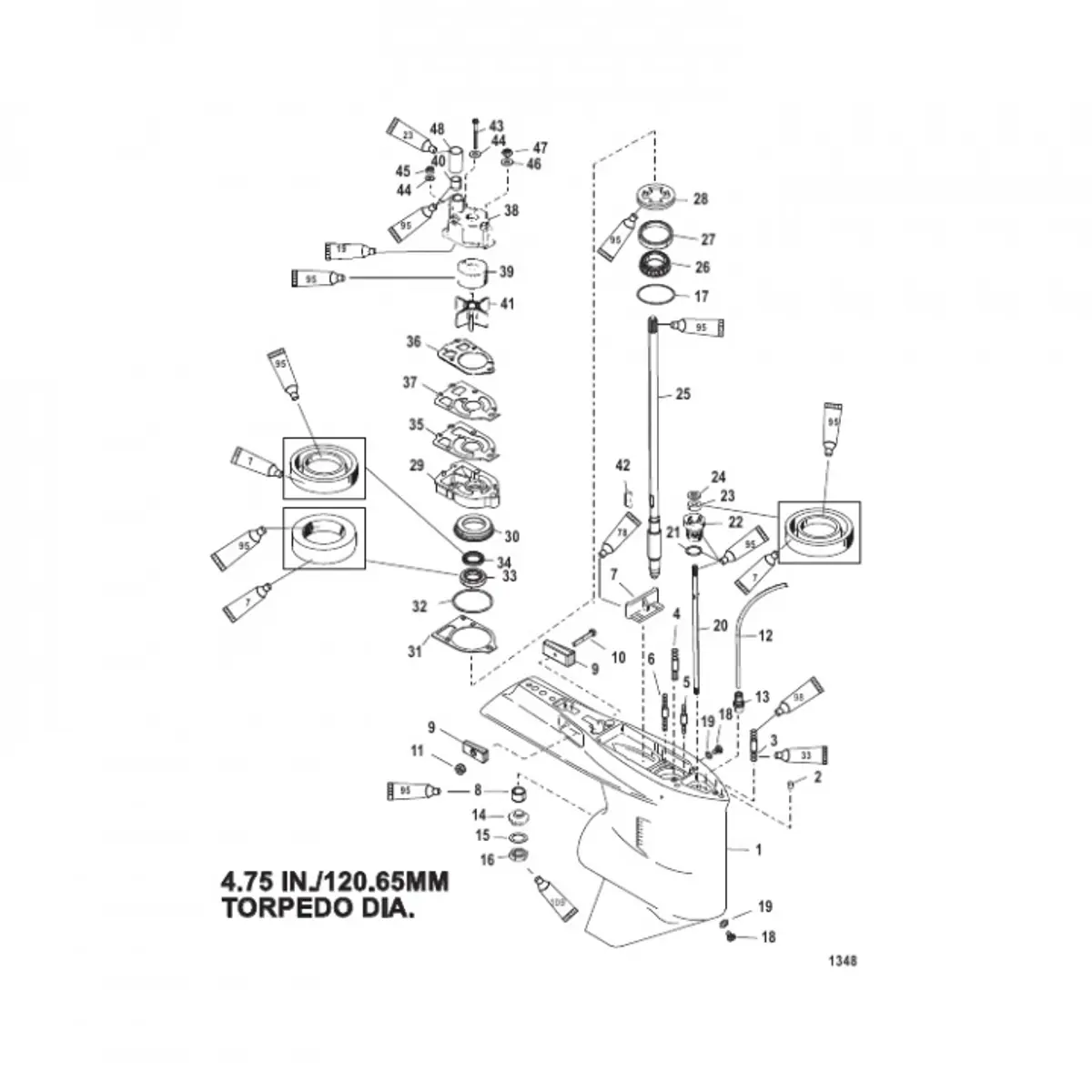
Tätningssats Mercury 115-200 hk (89238A2)
Artnr:
89238A2
1059 kr
- Produktbeskrivning
-
Tätningssats (89238A2) till Mercury 115-200 hk 2-takt EFI/DFI. Titta i din epc för att säkerställa att delen passar just din motor. - Egenskaper
-
- Leveransinformation
-
Lagersaldo: 0Frakt: Frakt 0-3kg


